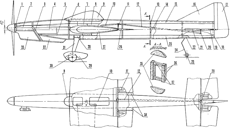
Êîìïîíîâêà ìîäåëè:

1 — áîáûøêà ìîòîðàìû (ëèïà); 2 — óñ ìîòîðàìû (áóê èëè ãðàá); 3 — ïåðåäíèé øïàíãîóò ìîòîðàìû (ôàíåðà s1, 6 ñëîåâ); 4 — îòñåê òîïëèâíîãî áàêà; 5 — ðåéêà øïàíãîóòà ìîòîðàìû (ëèïà 4x3); 6—çàäíèé øïàíãîóò ìîòîðàìû (ôàíåðà s1, 4 ñëîÿ); 7— áîêîâàÿ ïàíåëü, óñèëåííàÿ ôàíåðíîé ïëàñòèíîé s1;   8 — áîêîâàÿ ïàíåëü (áàëüçà s2,5); 9 — ôîíàðü êàáèíû (ñòåêëîòêàíü sÎ,1...0,2, 4 ñëîÿ); 10 — òÿãà ê çàêðûëêàì (ïðîâîëîêà ÎÂÑ 02,5); 11 —êàáàí÷èê çàêðûëêîâ (ñ êîðîìûñëîì); 12 — òÿãà ê ðóëþ âûñîòû; 13 — ïîëóøïàíãîóò ãàðãðîòà (áàëüçà s3); 14 — øïàíãîóò ôþçåëÿæà; 15 — âåðõíèé ãàðãðîò (áàëüçà s2,5); 16 — êèëü; 17 — ðóëü íàïðàâëåíèÿ; 18— êîíöåâàÿ âñòàâêà (áàëüçà 9x4); 19 — ðóëü âûñîòû; 20 — êàáàí÷èê ðóëÿ âûñîòû (ñ êîðîìûñëîì); 21 — ñòàáèëèçàòîð; 22 — áðóñîê êðåïëåíèÿ ñòîéêè õâîñòîâîãî êîëåñà (áàëüçà 30õ20õ 10); 23 — õâîñòîâîå êîëåñî äèàìåòðîì 20 ìì; 24 — ñòîéêà õâîñòîâîãî êîëåñà (ïðîâîëîêà ÎÂÑ äèàìåòðîì 1,5 ìì); 25 — íèæíèé ãàðãðîò (áàëüçà s2,5); 26 — çàêðûëîê; 27 — êðûëî; 28 — áðóñîê êðåïëåíèÿ øàññè (áàëüçà s10); 29 — îáòåêàòåëü êîëåñà; 30—êîëåñî äèàìåòðîì 44; 31 —ñòîéêà øàññè (äþðàëþìèíèé); 32 — âîçäóøíûé êàíàë; 33 — êàïîò äâèãàòåëÿ; 34 — äåêîðàòèâíûå âñòàâêè (áàëüçà); 35 — ïîëóøïàíãîóòû ãàðãðîòà (áàëüçà s3); 36 — âåðòèêàëüíûå ïëàñòèíû øïàíãîóòà (áàëüçà s2); 37 — ãîðèçîíòàëüíûå ïëàñòèíû øïàíãîóòà (áàëüçà s3)